
추상
이 실용 모델은 유기 합성 기술 분야에 관한 것이며, 보다 구체적으로는 페닐아민-기반 아세토니트릴의 연속 생산 시스템에 관한 것이다. 생산 시스템은 순차적으로 연결된 마이크로반응기, 지연 반응기, 냉각 메커니즘 및 상 분리 장치를 포함한다. 상 분리 장치는 액상을 위한 입구, 오일상을 위한 출구, 및 수성 상을 위한 출구를 구비한다. 오일 상 출구는 냉각 과립 장치에 연결되고, 수성 상 출구는 제 1 진공 저온 증발 및 탈수 장치에 연결된다. 제 1 진공 저온 증발 및 탈수 장치에는 순환 펌프를 통해 상 분리 장치의 입구에 연결된 배출 포트가 장착되어 있습니다. 이 실용 신안은 미세 반응기 및 지연 반응기와 정확한 온도 제어를 결합하여 국소 과열을 방지하여 페닐아민 기반 아세토 니트릴의 중합 또는 분해와 같은 원치 않는 반응을 일으킬 수 있습니다. 이로써 COD 함량을 감소시킨다.
1
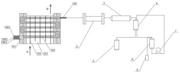
순차적으로 연결된 미세 반응기, 지연 반응기, 냉각 메커니즘 및 상 분리 장치를 특징으로하는 페닐아민 기반 아세토니트릴의 연속 생산 시스템. 상 분리 장치는 액상을 위한 입구, 오일상을 위한 출구, 및 수성 상을 위한 출구를 구비한다. 오일 상 출구는 냉각 과립 장치에 연결되고, 수성 상 출구는 제 1 진공 저온 증발 및 탈수 장치에 연결된다. 제 1 진공 저온 증발 및 탈수 장치에는 순환 펌프를 통해 상 분리 장치의 입구에 연결된 배출 포트가 장착되어 있습니다.
2
제 1 항에 있어서, 마이크로반응기는 높은 처리량의 연속 유동 마이크로반응기를 사용하는 페닐아민-기반 아세토니트릴을 위한 연속 생산 시스템.
3
제 1 항에 있어서, 지연 반응기가 차동 측류 반응기를 사용하는 것을 특징으로 하는 페닐아민계 아세토니트릴을 위한 연속 생산 시스템.
4
제 1 항에 있어서, 상 분리 장치가 자동 상 분리기 또는 액체-액체 상 분리 원심분리기를 사용하는 것을 특징으로 하는 페닐아민-기반 아세토니트릴을 위한 연속 생산 시스템.
5
제 1 항에 있어서, 제 1 진공 저온 증발 및 탈수 장치는 증발기를 포함하고, 증발기는 낙하 필름 증발기를 사용하는 페닐아민계 아세토니트릴을 위한 연속 생산 시스템. 강제 순환 재 보일러 또는 사이펀 재 보일러.
6
제 5 항에 있어서, 증발기가 낙하 필름 증발기를 사용하는 것을 특징으로 하는 페닐아민계 아세토니트릴의 연속 생산 시스템.
7
제 1 항에 있어서, 제 2 진공 저온 증발 및 탈수 장치를 추가로 포함하는, 페닐아민계 아세토니트릴을 위한 연속 생산 시스템. 상 분리 장치의 오일 상 출구와 냉각 과립 장치 사이에 위치된다.
8
제 7 항에 있어서, 제 2 진공 저온 증발 및 탈수 장치는 증발기를 포함하고, 증발기는 낙하 필름 증발기를 사용하는 페닐아민계 아세토니트릴을 위한 연속 생산 시스템. 강제 순환 재 보일러 또는 사이펀 재 보일러.
설명
기술 분야
이 실용 모델은 유기 합성 기술 분야에 관한 것으로, 특히 페닐아민-기반 아세토니트릴의 연속 생산 시스템을 포함한다.