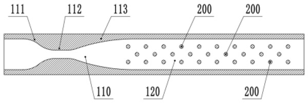
실용 신안 특허는 화학 장비의 기술 분야에 속하며, 분무 영역과 배플 링 영역이 제공되는 튜브 바디를 포함한 고속 분무 반응 튜브를 제공합니다. 재료 흐름 방향을 따른 분무 영역에는 수축 섹션이 제공되며, 목구멍 섹션 및 확장 섹션 순서대로, 배플 링 영역에는 여러 배플 링 부재가 제공된다.
이 실용 모델 특허에서, 튜브 본체의 분무 영역은 반응 물질을 분무하는데 사용되며, 분무 후 반응 물질의 접촉 면적이 증가된다. 이는 반응 물질의 질량 전달 과정에 더 도움이됩니다. 그런 다음 배플 영역을 사용하여 반응 물질의 흐름 경로를 변경하여 반응 물질의 혼합 효과를 개선 한 다음 반응 물질의 질량 전달 효율을 향상시킵니다. 즉, 이 실용 신안 특허의 반응 튜브는 높은 질량 전달 효율의 장점을 가지고, 그것은 부반응의 발생을 감소시키고 생산의 질과 효율성을 개량할 수 있습니다.

화학 생산 공정에서 많은 화학 제품의 생산은 일반적으로 연속 반응 공정과 간헐적 인 반응 공정으로 구분되는 화학 반응에 의해 완료되어야합니다.
간헐적 인 반응 공정은 반응기에서 수행되어야하며, 간헐적 인 반응은 긴 반응 시간, 낮은 장비 이용 및 단일 반응기의 약한 생산 능력의 문제를 갖는다.
연속 반응 공정은 일반적으로 강한 발열 반응 공정 또는 강한 열 흡수 반응 공정을 수행하는 데 사용되는 관형 반응기에서 수행되지만, 관형 반응기는 반응 물질이 화학적으로 반응하여 생성물을 생성하는 많은 반응 튜브를 갖는다.
현재, 반응기 튜브에서 반응 물질의 질량 전달 효율을 향상시키기 위해, 우리는 일반적으로 반응기 튜브에 배플 부재를 추가하고, 이는 반응 물질의 유동 경로를 변화시켜 반응 물질 사이의 혼합 효과를 개선시키는데 사용된다.
그러나, 반응 튜브 내의 블래플 부재는 일반적으로 배플 구조이기 때문에, 반응 물질의 질량 전달 효율은 제한된 정도로 개선될 수 있다. 따라서, 더 높은 질량 전달 효율을 갖는 반응 튜브를 개발할 필요가 있다.